เทคโนโลยี Touch ID สแกนลายนิ้วมือบนหน้าจอ
ก่อนหน้านี้มีข่าวว่า Apple จะตัดปุ่ม Home ออกไปและเปลี่ยนมาใช้ปุ่ม Home บนหน้าจอแทน ซึ่งแน่นอนว่าต้องตัดการสแกนลายนิ้วมือไปด้วย ซึ่งรายงานในข้อนี้ตรงกับข่าวที่จะกล่าวดังต่อไปนี้คือ สำหนักงานข่าวต่างประเทศ เผยว่าได้พบสิทธิบัตรของ Apple เทคโนโลยี Touch ID บนหน้าจอ ที่จดสิทธิบัตรไว้แล้วเป็นที่เรียบร้อย

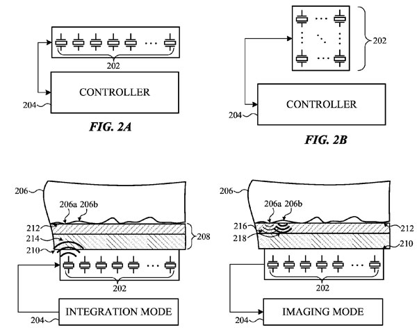
สำนักข่าวต่างประเทศรายงานเเกี่ยวกับสิทธิบัตรตัวหนึ่งของ Apple รหัส U.S. Patent No. 9,747,488 เกี่ยวกับการสแกนนิ้วที่หน้าจอ ที่ชื่อว่า Acoustic Imaging Systems เป็นการแปลงคลื่นสะท้อนมาเป็นภาพ

หลักการนี้ผู้ใช้วางนิ้วมือบนหน้าจอระบบจะมีการส่งคลื่นไปยังเซ็นเซอร์เพื่อแปลงเป็นภาพแล้วตรวจสอบข้อมูล ข้อมูลในระบบ

เทคโนโลยีนี้อาจจะไม่ทันใน iPhone 8 เราอาจได้เห็นในส่วน iPhone 8s หรืออาจมีความเป็นไปได้กับ iPhone 8 เพราะมีการตัดปุ่ม Home ออกไปแล้ว หรือหากไม่ทันจริงๆ Apple อาจเลือกใช้ฟีเจอร์ Face ID ที่สแกนใบหน้าแทน เพราะก่อนหน้านี้ก็มีรายละเอียดเกี่ยวกับการสแกนใบหน้าด้วยกันเหมือน ถ้า Apple โดนตัดออกไปก็น่าจะถือว่าเป็นจุดจบของ Touch ID กับปุ่มโฮม ระบบ Touch ID ถูกนำมาใช้เป็นครั้งแรก iPhone 5s เมื่อปี 2013

Leave a Reply